ねとらぼ
2016/06/20 14:00(公開)

2万5000分の1地図から「くわ畑」「工場」などの地図記号が消えた? 子どものころ習った地図記号はどうなった

国土地理院にお話を聞きました。

 「廃止になった地図記号って結構あるんだな。工場とか桑畑とか、小学校のときに覚えたのに。」というコメントとともに投稿された画像ツイートが話題になっています。


私の受験勉強を返して……!


 画像はまっち@r_norvegicus345さんが、茨城県つくば市の地図と測量の科学館で撮影してTwitterに投稿したもの。

 「2万5000分の1の地形図で使われなくなったおもな記号」として、「工場」「くわ畑」「採石地」などが平成25年(2013年)図式でなくなった(使用されなくなった)と示されています。


地形図

「くわ畑」結構お気に入りだったのに(画像提供:まっち@r_norvegicus345さん)


 本件について国土地理院に取材すると、「平成21年度より従来の2万5000分の1地形図、空中写真などをデジタルデータとした『電子国土基本図』が整備されました。その過程で平成20年6月頃に地図記号の見直しが検討された結果、平成25年度版では一部の地図記号を使わなくなりました」とのこと。


地形図

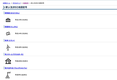
新しく生まれた地図記号もあった!(国土地理院公式サイトより引用)


 なおこれまでに表記してきた地図記号に関しては「名称」を代用することとなったため、工場などは記号でなく「工場」と表記されています。またこの地図記号の見直しについては、2万5000分の1地形図に限ったものであり、20万分の1地形図などに関しては従来通り地図記号での表現となっているとのことでした。


地形図

地図と測量の科学館にはこんなに大きな地図も(画像提供:まっち@r_norvegicus345さん)


 廃止された地図記号がある一方で、平成18年(2006年)には「風車(風力発電機などを表現したもの)」「老人ホーム」など、世相を反映した地図記号も生まれているようです。

 今回あらためて子どものころとは少し違った角度で地図記号を見ることができました。せっかく覚えた地図記号の知識が無駄にならなくてよかったです!


(Kikka)


※6月21日:初掲載時「平成20年6月頃に地図記号の見直しが行われた結果、一部の地図記号を使わなくなりました」としておりましたが、「平成20年6月頃に地図記号の見直しが検討された結果、平成25年度版では一部の地図記号を使わなくなりました」と改めました。

advertisement

関連キーワード

地図 | 工場 | 国土地理院 | デジタルデータ

※本ページはアフィリエイトプログラムによる収益を得ています

Copyright © ITmedia Inc. All Rights Reserved.

求人情報