ねとらぼ
2017/05/22 18:41(公開)

Apple、新型ピザボックスの特許を出願していた ピザが冷めにくくふやけにくいスマートな設計

Macintosh LCシリーズがリバイバルするわけではありません。

 Appleがピザボックスを新開発し特許を出願していたことが、Googleの特許検索から判明し話題を呼んでいます。こう書くと昔のMacintoshを知る人はLCシリーズの平べったい筐体(画像検索)を連想するかもしれませんが、正真正銘ピザの容器です。


特許

2つ折りのピザボックス(Google特許検索より)


 出願日は2010年7月30日と、発明はスティーブ・ジョブズ氏が存命中のこと。円を2つつなげたメガネのような形が特徴で、一般的なピザボックスとは異なり、組み立てる必要なく折りたたむだけで食品等を収納できます。


特許

Google特許検索より、特許の概要。発明者はFrancesco Longoni氏


 底面に配された、リング状の突起に工夫がうかがえます。突起はピザを少し持ち上げ、容器との間に若干の隙間を作り蒸気を蓄積。保温効果をもたらすとともに、蒸気が水となって生地に触れることを防ぎます。そして余分な蒸気はフタの穴から外へ。ピザが冷めにくく、湿りにくい設計と説明されています。


特許

ピザを持ち上げる底面の突起が、冷めにくく湿りにくくするための工夫。生地がふやけていたらガッカリしますしね(Google特許検索より)


特許

フタには蒸気抜きの穴が(Google特許検索より)


特許

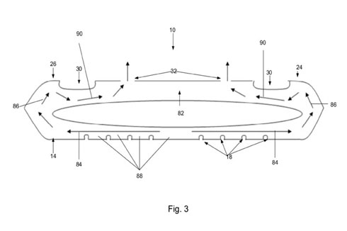
側面からの断面図。矢印は蒸気の流れを示している(Google特許検索より)


 Appleの発明としては畑違いにも思えますが、容器は積み重ねやすい構造で、ピザに限らず物品の保管や輸送にも使えます。素材も再利用が可能で環境負荷が低いものを考慮しているとのこと。同社が革新的な製品パッケージやサービスに、特許を活用する未来が見てみたい。


(沓澤真二)


advertisement

関連キーワード

特許 | ピザ | Apple | 発明 | スティーブ・ジョブズ

※本ページはアフィリエイトプログラムによる収益を得ています

関連タグ

Copyright © ITmedia Inc. All Rights Reserved.

求人情報